
产品名称:J41W-16T黄铜阻止阀
产品标签:阻止阀,J41W-16T黄铜阻止阀
更新时间:2019/5/18 16:34:03
上一个产品: J44F46衬氟角式阻止阀
下一个产品:UJ41W不锈钢柱塞阀
在线客服:
在线订购:在线订购
产品详情
J41W-16T黄铜阻止阀产品概述:
J41W-16T黄铜阻止阀城建、化工、冶金、石油、制药、食物、饮料、环保等各大行业的防爆气体管路上。
J41W-16T黄铜阻止阀主要零件质料:
| 阀体 | 铸铜 |
| 阀瓣 | 铸铜 |
| 阀盖 | 铸铜 |
| 阀杆 | 0Cr18Ni9 |
| 密封圈 | 聚四氟乙烯 |
J41W-16T黄铜阻止阀主要手艺参数:
| 公称压力 | 1.0-4.0Mpa |
| 适用介质 | 水、气、油 |
| 适用温度 | 0-220℃ |
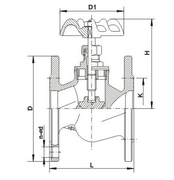
J41W-16T黄铜阻止阀主要尺寸及重量
| 公称压力 PN(Mpa) |
公称通径 DN(㎜) |
尺寸㎜ | 重量 ㎏ |
|||||||||
| L | D | D1 | D2 | D6 | b | Do | H | H1 | Z-Φd | |||
| 1.6 | 15 | 130 | 95 | 65 | 45 | - | 14 | 75 | 110 | 119 | 4-Φ14 | 2 |
| 20 | 150 | 110 | 75 | 55 | - | 14 | 75 | 110 | 120 | 4-Φ14 | 3 | |
| 25 | 160 | 115 | 85 | 65 | - | 14 | 75 | 116 | 126 | 4-Φ14 | 4 | |
| 32 | 180 | 135 | 100 | 78 | - | 15 | 120 | 143 | 160 | 4-Φ18 | 6.1 | |
| 40 | 200 | 145 | 110 | 85 | - | 16 | 120 | 147 | 168 | 4-Φ18 | 8.2 | |
| 50 | 230 | 160 | 125 | 100 | - | 16 | 160 | 172 | 194 | 4-Φ18 | 11 | |
| 65 | 290 | 180 | 145 | 120 | - | 18 | - | - | - | 4-Φ18 | 28 | |
| 80 | 310 | 195 | 160 | 135 | - | 20 | - | - | - | 8-Φ18 | 34 | |
| 100 | 350 | 210 | 180 | 155 | - | 20 | - | - | - | 8-Φ18 | 43 | |
| 125 | 400 | 245 | 210 | 185 | - | 22 | - | - | - | 8-Φ18 | 70 | |
| 150 | 480 | 280 | 240 | 210 | -- | 24 | - | - | - | 12-Φ23 | 95 | |

注:以上的产品先容,参数,图片,数据仅用于参考,若是需更准确的资料请咨询公司手艺效劳热线:18117208829




