
产品名称:Q41F三片式法兰球阀
产品标签:球阀,三片式法兰球阀
更新时间:2019/6/7 15:38:45
上一个产品: QJ41M/F不锈钢高温球阀
下一个产品:Q44F/Q45F不锈钢三通球阀
在线客服:
在线订购:在线订购
产品详情
公称压力 |
1.6-6.4MPa |
适用稳固规模 |
-20~232℃~350℃ |
适用介质 |
水、油、气及某些侵蚀性液体(W。O。G) |
对焊标准(BW) |
GB12224.ANSIB16.25 |
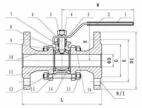
零件名称 |
材质 |
|
不锈钢 |
碳钢 |
|
螺栓 |
不锈钢SS304 |
碳钢 |
弹簧垫圈 |
不锈钢SS304 |
不锈钢SS304 |
螺母 |
不锈钢SS304 |
碳钢 |
阀盖 |
不锈钢CF8/CF8M |
碳钢WCB |
阀体 |
不锈钢CF8/CF8M |
碳钢WCB |
球体 |
不锈钢CF8 |
不锈钢CF8 |
密封圈 |
聚四氟乙烯PTFE |
聚四氟乙烯PTFE |
阀杆 |
不锈钢SS316 |
不锈钢SS304 |
填料 |
聚四氟乙烯PTFE |
聚四氟乙烯PTFE |
压紧螺母 |
不锈钢SS316 |
不锈钢SS304 |
弹簧垫圈 |
不锈钢SS304 |
不锈钢SS304 |
螺母 |
不锈钢SS304 |
不锈钢SS304 |
手柄 |
不锈钢SS304 |
不锈钢SS304 |
SIZE |
1/2" |
3/4" |
1" |
1-1/4" |
1-1/2" |
2" |
2-1/2" |
3" |
4" |
d |
15 |
20 |
25 |
32 |
38 |
50 |
65 |
76 |
100 |
L |
130 |
150 |
160 |
180 |
200 |
230 |
290 |
310 |
350 |
D |
95 |
105 |
115 |
135 |
145 |
160 |
180 |
195 |
230 |
D1 |
65 |
75 |
85 |
100 |
110 |
125 |
145 |
160 |
190 |
D2 |
45 |
55 |
65 |
78 |
85 |
100 |
120 |
135 |
160 |
b |
14 |
16 |
16 |
18 |
18 |
20 |
22 |
24 |
24 |
f |
2 |
2 |
2 |
3 |
3 |
3 |
3 |
3 |
3 |
H |
75 |
95 |
90 |
110 |
130 |
140 |
170 |
180 |
250 |
w |
130 |
140 |
140 |
170 |
200 |
220 |
350 |
350 |
550 |
n-do |
4-14 |
4-14 |
4-14 |
4-18 |
4-18 |
8-18 |
8-18 |
8-18 |
8-22 |
![]() |





