
产品名称:QJ41M/F高温硬密封球阀
产品标签:球阀,高温硬密封球阀
更新时间:2019/6/7 16:40:37
上一个产品: QJ41M/F法兰高温球阀
下一个产品:Q21F外螺纹球阀
在线客服:
在线订购:在线订购
产品详情
QJ41M/F高温硬密封球阀产品概述:
高温硬密封球阀是接纳新型密封质料为阀座,经同类产品聚四氟乙烯做密封的球阀,使用寿命提高了3-5倍。高温硬密封球阀具有性能稳固、密封可靠、磨擦力小、开关轻盈、耐高温、耐磨、耐油、耐侵蚀、使用寿命长等优点,高温硬密封球阀与阻止阀、柱塞阀、排污阀,结构长度相符,扩大了球阀使用规模,普遍用于石油、化工、橡胶、造纸、制药等行业,可替换阻止阀、柱塞阀、快速排污阀。适用介质:水、蒸汽、导热油等酸类,使用温度:≤350℃。
QJ41M/F高温硬密封球阀性能参数
型号 |
公称压力 |
强度试验压力 |
密封试验压 |
适用温度 |
适用介质 |
QJ41M/F-16C |
1.6 |
2.4 |
1.8 |
-28~+300 (M/F) |
导热油、水、蒸汽、气体、油品、硝酸类侵蚀性介质、醋酸类侵蚀性介质 |
QJ41M/F-16C |
2.5 |
3.8 |
2.8 |
-28~+350 (PPN) |
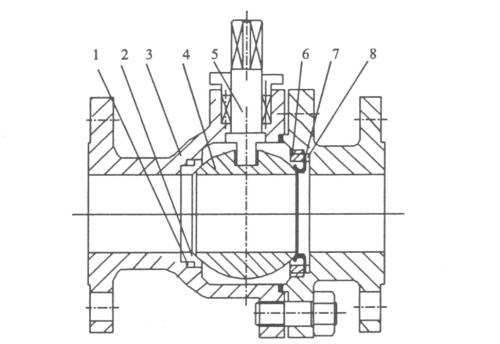
序号 |
零部件名称 |
质料 |
1 |
阀体 |
球墨铸铁、碳素钢、铸不锈钢 |
2 |
密封圈 |
(M/F)高强度耐磨碳结石墨≤300℃ (PPN)对莅聚苯、温度≤350℃ |
3 |
球 |
不锈钢 |
4 |
填料 |
聚四氟乙烯 |
5 |
填料压盖 |
QT450-10球墨铸铁 |
6 |
阀杆 |
碳素钢、铬不锈钢 |
7 |
手柄 |
碳钢 |
型号 |
规格 |
尺寸 |
||||||
L |
D |
D 1 |
D 2 |
z-φd |
H |
b |
||
QJ41M/F-16 |
15 |
130 |
95 |
65 |
45 |
4-14 |
85 |
14 |
20 |
150 |
105 |
75 |
55 |
4-14 |
95 |
16 |
|
25 |
160 |
115 |
85 |
65 |
4-14 |
103 |
16 |
|
32 |
180 |
135 |
100 |
78 |
4-18 |
105 |
18 |
|
40 |
200 |
145 |
110 |
85 |
4-18 |
120 |
18 |
|
50 |
230 |
160 |
125 |
100 |
4-18 |
195 |
20 |
|
65 |
290 |
180 |
145 |
120 |
4-18 |
195 |
20 |
|
80 |
310 |
195 |
160 |
135 |
8-18 |
215 |
22 |
|
100 |
350 |
215 |
180 |
155 |
8-18 |
253 |
24 |
|
![]() |
注:以上的产品先容,参数,图片,数据仅用于参考,若是需更准确的资料请咨询公司手艺效劳热线:18117208829





